SMS svetsreduktionskrage

Inre ytjämnhet på R 0,8 µ och märkta med ett satsnummer.
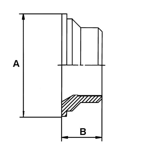
Utformad med krage för påsvetsning på rostfritt mejerirör.

Tillverkade av rostfritt stål AISI 316L / EN 1.4404.

Varunummer Nominell dim.
mm.
A diam
mm.
Längd B
mm.
Nettovikt
kg.
Basenhet Antal
0101250380 38,0/25,0 55,0 30,0 0,050 STK
0101250510 51,0/25,0 65,0 32,0 0,060 STK
0101250511 51,0/38,0 65,0 38,0 0,060 STK
0101250640 63,5/38,0 80,0 42,0 0,090 STK
0101250641 63,5/51,0 80,0 42,0 0,090 STK
0101250760 76,1/51,0 93,0 44,0 0,130 STK
0101250761 76,1/63,5 93,0 44,0 0,130 STK
Med reservation för felaktiga produktdata, variationer i bilder/videor samt pris- och valutakursförändringar.
Luk

Det tar bara 1 minut...

Luk
Logga in

Ett fel uppstod!

Skapa nytt lösenord

Ett fel uppstod!

Vi har skickat ett e-postmeddelande med en länk för att skapa ditt nya lösenord. Kontrollera din skräppostmapp om du inte hittar det.